Cubro SG documentation
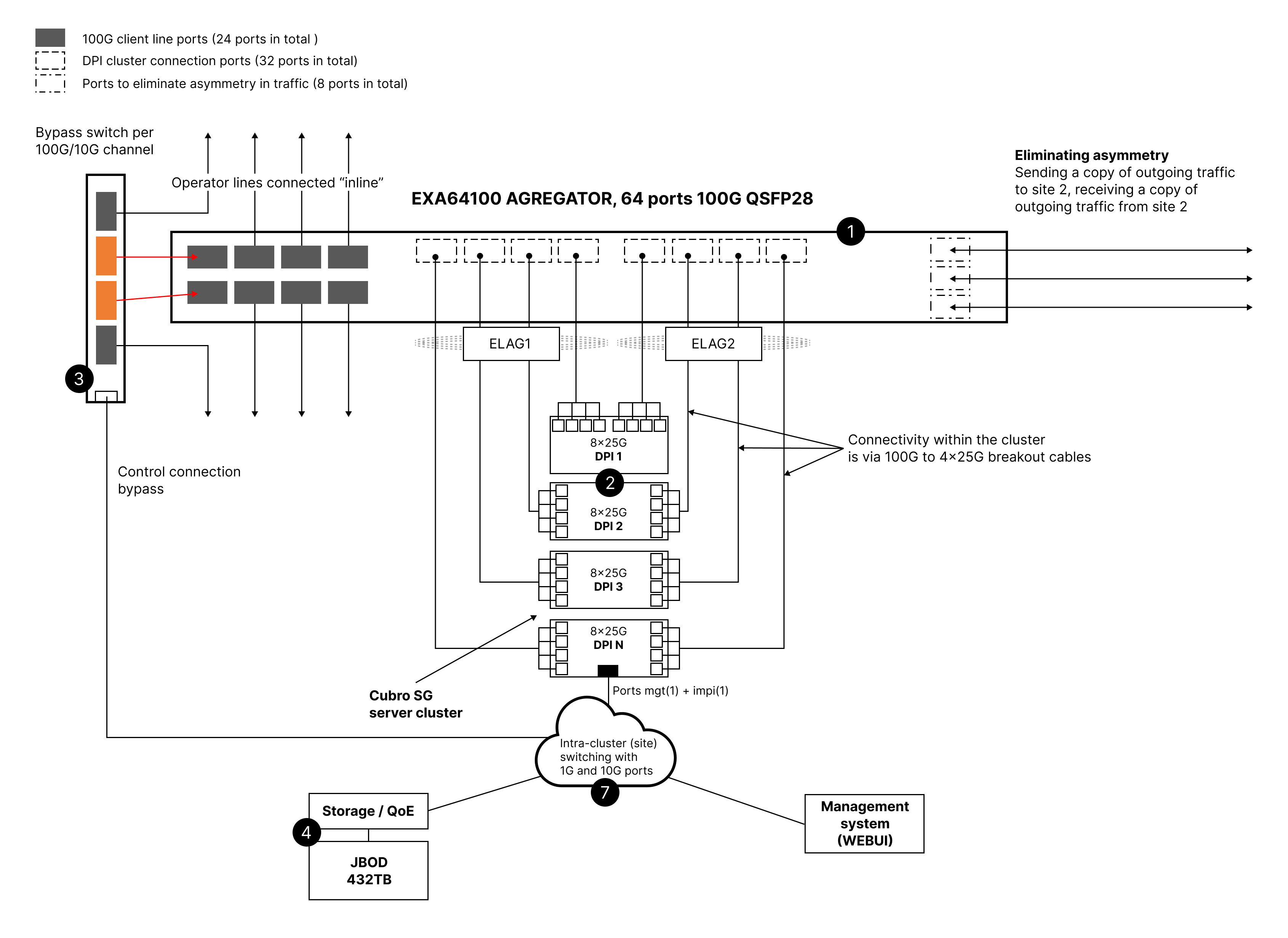
The Cubro Service Gateway is a multifunctional network traffic management platform based on Deep Packet Inspection (DPI) technology. It integrates functionalities such as Broadband Remote Access Server (BRAS/BNG), Carrier Grade NAT, subscriber and policy management, Quality of Service, network monitoring, and lawful interception.
The documentation provides an overview of the key components and system architecture, explaining operational principles. The system is adapted for use in the Cubro Service Gateway’s "Country Scaled DPI" mode, which utilizes the DPI CNC graphical interface version. The documentation also includes use cases that demonstrate system operation and management examples.